(一)码科系统后台添加对接模块
码科系统后台:业务-企业商户-平台对接-对接列表,点:添加
填加之后,记下小程序appid和token这两个参数,一会要填到云贝后台
(二)云贝后台配置
登录云贝后台,设置-接口设置,填入以下参数

上图是旧版云贝配置码科配送的界面
如果是新版的云贝,则按下图操作:
(三)码科系统后台商户配置
登录码科跑腿后台,添加企业商户(如果已有,忽略该步骤),也可以在用户端小程序→个人中心申请成为企业商户
业务→商户列表→选择需要对接的商户→更多→对接→添加

填云贝后台需要对接的商户的商家ID
云贝后台,商户→商户列表,找到对应商户的ID,填到上面。
上图是旧版云贝查看店铺id的界面
如果是新版的云贝,则按下图查看
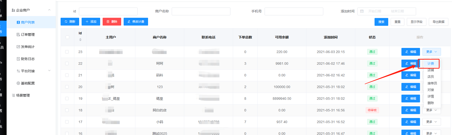
给对接的大客户设置计费规则,如果没有设置,也会导致订单推送不过来
(四)云贝后台对商户进行配送设置

打开码科配送的开关
找到需要对接的商家,进入店铺管理,外卖设置里的自动接单开关打开
(五)下单测试
①码科后台-业务-商户列表,找到对应的商户,看下该商户是否有余额,余额充足,对接的订单才会推送过来。
②在云贝前端小程序下单
码科后台对接订单里有订单,就表示对接成功了。
